ABL剥离力测试台
功能
ABL-90°剥离力zhuan用测试台,专为NK、HF系列推拉力计配备,可组合成不同用途的试验机台,专门用于试验PC板上铜箔电路附着力或锡箔、铝箔、胶布等。黏着于物体表面牢度。试验时以垂直之角度剥离试样。以测得实际强度。
特点
· 手动操作,梯型螺杆传动,操作简单稳定。
· 可将本机架安装于桌(台)面使用,使机架更加稳固。
规格参数
· 有效行程: 150mm
· z大负荷:500N
· 长 × 宽× 高:350×210×450 mm
· 净重:19kg
· 测试区有效面积:105×100 mm ,z大可达105×152mm
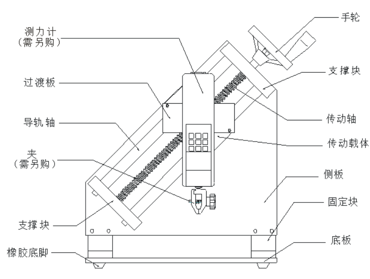
结构示意图
