AWE4-340R带角度数显扭矩扳手

AWE4-340R带角度数显扭矩扳手

产品型号:AWE4-340R

负责人:张雅丽

QQ:827928594

手机:13937153969

产品详情

   AWE带角度扭矩扳手使用说明书

1、 系统概述

1.1主要用途及适用范围

AWE带角度数显扭矩扳手是一款数显扳手。可以直接并准确的读出扭矩-角度值,使用简单,易于操作。适用于汽车行业、机械行业等的螺栓紧固及控制。

1.2功能特点

1.2.1 可直接读出扭矩-角度值;

1.2.2 ±1°(转动90°速度在30°/sec);

1.2.3 ±1%;

1.2.4 可顺时针和逆时针测量;

1.2.5 蜂鸣器、LED和振动器提示目标值;

1.2.6 四种扭力单位:N.m、kfg.cm、ft.lbf、in.lbf等。

1.2.7 角度单位为度(°)

1.2.8 自带3.7V锂电池,通过USB可以直接对锂电池充电;

1.2.9 自带usb接口,可上传保存数据。

1.2.10 测量模式:实时模式、峰值模式和预置模式三种测量模式。

1.2.11 自动背光功能;

1.3 规格参数

型号

不带通讯

AWE2 -0010

AWE2 -0030

AWE3-0030

AWE3-0060

AWE3-0085

AWE3 -0135

AWE4 -0135

AWE4 -0200

AWE4 -0340

AWE6-

0500

AWE6-

0850

带通讯

AWE2 -0010R

AWE2 -0030R

AWE3-0030R

AWE3-0060R

AWE3-0085R

AWE3 -0135R

AWE4 -0135R

R

AWE4 -0200R

AWE4 -0340R

AWE6-

0500R

AWE6-

0850R

Z小分度值

0.01

0.1

Z大操作范围

(N.m)

10N.m/7.37ft.lb/88.50in.lb/101.97kgf.cm

30N.m/22.12ft.lb/265.5in.lb/305.91kgf.cm

30N.m/22.12ft.lb/265.5in.lb/305.91kgf.cm

60N.m/44.25ft.lb/531.04in.lb/611.82kgf.cm

85N.m/62.69ft.lb/752.31in.lb/866.75kgf.cm

135N.m/99.57ft.lb/1195in.lb/1376.61kgf.cm

135N.m/99.57ft.lb/1195in.lb/1376.61kgf.cm

200N.m/147.5ft.lb/1770in.lb/2039.43kgf.cm

340N.m/250ft.lb/3009in.lb/3467.03kgf.cm

500N.m/4424in.lb/368.7ft.lb/5098.58kgf.cm

850N.m/7521in.lb/626.8ft.ln/8667.58kgf.cm

连接头(inches)

1/4

3/8

1/2

3/4

长度

390

420

535

655

 

 

扭力精度*1

±1%

 

角度精度

±1°(角度在每秒30°的速度转90°下测量之精度)

资料存储容量

255

操作模式

峰值模式(P)/实时模式(T)/预置模式(Pre)

单位

N.m、kgf.cm、ft.lbf、in.lbf

棘轮头形式

双向棘轮头

棘轮头齿数

36

48

按键数

5

电池

3.7V锂电池

操作温度

-10℃~60℃

存储温度

-20℃~70℃

湿度

无凝露可到90%

摔落测试高度

1米

振动测试条件*2

10G

寿命测试*3

 

 二、产品组件

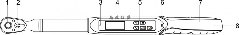
2.1产品结构

         
       
 

 

2.2液晶显示图

1、 双向棘轮头 2、转向拨片

3、LED指示灯 4、LCD屏幕

%1、 按键 6、蜂鸣器

7、电池盒 8、电池盖

9、棘轮扭力方头 10、USB/充电接口

11、充电指示灯 12、握把

13、电池电量显示 14、角度值显示

15、工作模式 16、单位显示

17、扭力方向 18、扭力值显示

19、向上/预置值解锁按键 20、存储/查看按键

21、向下/工作模式切换按键 22、单位切换/菜单按键

23、电源/置零按键

三、工作模式说明

3.1 工作模式切换

3.2 实时模式操作

实时测量模式跟随施加扭矩值和旋转角度值(旋转角度值时通过扭矩值大于0时开始计算选择角度)。当卸载扭力,扭力值到零时,角度自动清零。

液晶屏显示为T时,为实时模式,如果不显示T,请按“”键进行模式切换。操作步骤如下图所示:

NOTE1:实时模式下,扭力值大于0时,就会显示角度值.

NOTE2:实时模式下,达到预设目标力值的90%时,蜂鸣器开启后,红灯闪烁,蜂鸣器短鸣;振动器开启后,红灯闪烁,振动器间断振动,振动频率根据扭力接近程度提高震动频率

NOTE3:实时模式下,蜂鸣器开启后,达到或大于预设目标扭力值时,红灯长亮,蜂鸣器长鸣;振动器开启后,红灯长亮,振动器连续振动。

NOTE4:蜂鸣器和振动器不能同时启用。若用户开启蜂鸣器后,振动器自动关闭;若开启振动器,则蜂鸣器自动关闭。

3.3 峰值模式

在峰值测量模式下,当施加扭力时,扳手将锁住Z大施加扭力和Z大角度,并将其显示在液晶屏上。当卸载扭力时,峰值扭力和峰值角度将被锁定,当再次加载时LCD液晶屏将不更新已锁定峰值。当开启自动保存功能时,扳手会自动保存力值和角度,并自动清零,需进行下次测量时,直接加载扭力。当未开启自动保存功能时可通过按“M”键保存或通过按“P/C”键清零。

液晶屏显示P为峰值模式,如果不显示P,请按“”键进行切换。峰值模式操作步骤如下图所示:

NOTE1:峰值模式下,首次测量时当扭力值大于0时,扳手显示角度与扭力值;但是当继续施力时(不清零且不保存数值的情况下),本次测量扭力值大于首次测量力值时角度值才会跟随扭力值变动。

NOTE2:峰值模式下,达到预设目标扭力值的90%时,蜂鸣器开启后,红灯闪烁,蜂鸣器短鸣;振动器开启后,红灯闪烁,振动器间续振动。

NOTE3:实时模式下,蜂鸣器开启后,达到预设目标扭力值时,红灯长亮,蜂鸣器长鸣;振动器开启后,红灯长亮,振动器连续振动。

NOTE4:蜂鸣器和振动器不能同时启用。若用户开启蜂鸣器后,振动器自动关闭;若开启振动器,则蜂鸣器自动关闭。

3.4 预置模式

预置模式是采用扭力值达到目标值后,继续给要锁紧螺丝一定的角度而设计的。当施加的扭力值大于等于目标扭力值时,扳手开始计算角度值。当卸载扭力时,扭力值和角度值自动锁死。

液晶屏显示Pre为预置模式,如果不显示Pre,请按“”键进行切换。预置模式操作步骤如下图所示:

NOTE1:预置模式下,达到预设目标扭力值时,扳手才会显示角度。

NOTE2:预置模式下,达到预设目标扭力值的90%时,红灯闪烁。

NOTE3:预置模式下,蜂鸣器开启后,达到预设目标扭力值时,红灯长亮,蜂鸣器短鸣;振动器开启后,红灯长亮,振动器间续振动。

NOTE4:蜂鸣器和振动器不能同时启用。若用户开启蜂鸣器后,振动器自动关闭;若开启振动器,则蜂鸣器自动关闭。

四、使用方法

4.1 开机

短按“P/C”键开机,开始后如果电量显示不足,则自动关机,充电后方可正常使用。

4.2 单位切换

4.3设置预置值

先按“P/C”键开机,按“”键,判断按键锁是否已开启。如果按键锁已开启,可通过系统设置中的“按键锁”来关闭按键锁功能(详见下文“系统设置”)。若按键锁未开启,会显示字母“”,然后可以按“”键,增加目标值,或者按“”键,减小目标值。设置完成后,按“U/S”键保存退出。

4.4 清零

①当扳手力值为0时,按“P/C”键,会显示“”,此时表示为角度校准清零。在角度清零时,请将扳手放置在平面上静止,直到角度清零完成。

②当扳手有力值显示时,按“P/C”键直接将力值清零,角度不清零。

4.5 数据保存和查看

4.5.1 数据保存

①在测量界面短按“M”键,显示“”时,表示保存成功。当力值为零时,无法保存,会提示“”。

②自动保存:在峰值模式和预置模式下,在系统设置中设置自动保存时间不为0时,扳手会自动保存扭力值。当自动保存时间为0时,则扳手不会自动保存扭力值,用户需手动按“M”键保存扭力值。

4.5.2查看保存数据

按“P/C”键开机或在开机测量界面下,长按“M”键,可查看保存的数据,在数据查看界面可以通过,“”或“”键,查看保存记录,当查看完毕,按“U/S”键退出。

4.6删除存储数据

①在测量界面,长按“M”键,进入数据查看界面后,短按“P/C”键,显示“yes”,或“”,当显示“yes”,然后按“U/S”键,显示“succ”,即表示数据全部删除(本仪器无法逐条删除数据)。

②在测量界面,长按“M”键,进入数据查看界面后,按“P/C”键,显示“yes”,继续按“P/C”键,切换显示“”,再按“U/S”键,直接回到测量界面,表示数据不删除。

4.7 系统设置

4.7.1 角度设置:可设置范围为0~999,用户可通过按“”键和“”键设置自己所需的数值。当角度显示999时,在往上加会循环变为0,同样当角度显示0是,按“”键往下减时,角度会跳到999。

4.7.2 按键锁:针对预设目标扭力值。用户可通过按“”键和“”键来设置按键锁开启或者关闭,“1”为开启,“0”为关闭。

4.7.3 自动保存时间:可设置范围为0~5(秒),0表示关闭自动保存功能。用户可通过按“”键和“”键来设置自动保存时间。

4.7.4 蜂鸣器:设置蜂鸣器开启或者关闭。1为开启,0为关闭。用户可通过按“”键和“”键来设置蜂鸣器开启或者关闭。

4.7.5 振动器:设置振动器的开启或者关闭。1为开启,0为关闭。用户可通过按“”键和“”键来设置振动器开启或者关闭。

4.7.6 自动关机:自动关机时间设置,可设置范围为0~30(分钟)。0为关闭自动关机功能,用户可通过按“”键和“”键设置自己所需的自动关机时间。

4.7.7 恢复出厂设置:用户通过此功能可使仪器恢复出厂设置。通过按“”键和“”键来选择“yes”(恢复出厂设置)或者“”(不恢复出厂设置)。若选择恢复出厂设置,选择“yes”后迅速短按“U/S”键,液晶屏随后出现“succ”(已恢复出厂设置),并且系统自动返回到测量界面。若选择不恢复出厂设置,选择“”即可。

五、通信与上传数据

本扳手采用USB通信模式,可以将保存的数据上传到PC中,也可以将实时测量数据上传到PC中。

使用制造商提供的光盘,在电脑上安装好通讯软件,然后在数显扳手开机状态下用数据线连接数显扳手和电脑,双击软件图标,打开软件,先选择“Com No(端口号)”,再点击“Part Open”,然后点击“Upload”,这时表格上会出现本仪器内的存储数据,表示上位机已连接成功,已达到读取存储数据的目的。如下图所示:

通信设置:波特率4800,8位数据位,无奇偶校验,1个停止位。

通信格式:

3字节数据头 + 1字节功能码 + 2字节数据长度 + N字节数据长度 +1字节校验和

数据头: 0xEB 0x00 0x55

功能码

含义

例子

F0

PC机向扳手发送握手指令

指令:EB 00 55 f0 00 00 30

F1

扳手向PC机握手确认指令

返回指令:EB 00 55 F1 00 00 62

F5

PC机向扳手请求储存数据

指令:EB 00 55 f5 00 00 35

01

扳手发送量程数据

返回指令:EB 00 55 01 00 02 00 1E C2

02

扳手发送储存数据大小

返回指令:EB 00 55 02 00 02 00 06 94

03

扳手发送储存数据大小

返回指令:EB 00 55 03 00 12 00 01 00 00 00 04 00 00 00 00 00 02 00 00 00 00 00 00 B8

04

扳手发送数据已发完

返回指令:EB 00 55 04 00 00 88

FC

PC请求实时数据

指令:EB 00 55 FC 00 00 3C

七、提示信息

提示信息

含义

解决办法

ER-2

储存器异常

储存器已满,或储存器已损坏。清除储存数据或返厂维修。

ER-3

传感器或线路板异常

力值大于5%清零点,卸载力值再清零。

如卸载力值无法清除错误信息,返厂维修。

ER-4

超量程

超过满量程的120%将提示ER-4, 卸载力值后,按【P/C】键清除错误。

SUCC

提示操作完成

一个操作完成,自动返回。

Fail

提示操作失败

一个操作失败,自动返回。

八、保养与储存 

8.1 注意:

为了维持良好精度,建议大约每一年需重新校正一次。

8.2 过扭力可能会造成损坏或精度损失(超过Z大扭力范围105%)。

8.3 请勿将扳手剧烈摇晃或将扳手摔落地上。

8.4 不要把扳手当铁锤使用。

8.5 请勿将扳手放在高温、高湿度或是太阳直射的地方。

8.6 请勿在靠近水的地方使用扳手。

8.7 如果不小心将扳手弄湿,请立刻用干毛巾擦干。海水中的盐分可能会破坏扳手。

8.8 请勿使用有机溶剂清洁扳手,如酒精或是油漆稀释剂。

8.9 请勿将扳手靠近磁性物体。

8.10 请勿将扳手放置在灰尘或是砂子很多的地方,这会导致扳手严重的破坏。

8.11 请勿重压LCD屏幕。

九、随机附件

1

锂电池

1节

2

说明书

1份

3

电池盖钥匙

1个

4

合格证

1份

5

保修卡

1份

6

检查证明书

1份

7

干燥剂

1包

 
 
 

您可以通过在线留言联系我们: